Для ТЕБЯ - христианская газета

ДУХ СВЯТОЙ И МЫ. Весть первая.
Проповеди

Начало О нас Статьи Христианское творчество Форум Чат Каталог-рейтинг
Начало | Поиск | Статьи | Отзывы | Газета | Христианские стихи, проза, проповеди | WWW-рейтинг | Форум | Чат
 


 Новая рубрика "Статья в газету": напиши статью - получи гонорар!

Новости Христианского творчества в формате RSS 2.0 Все рубрики [авторы]: Проза [а] Поэзия [а] Для детей [а] Драматургия [а] -- Статья в газету!
Публицистика [а] Проповеди [а] Теология [а] Свидетельство [а] Крик души [а] - Конкурс!
Найти Авторам: правила | регистрация | вход

[ ! ]    версия для печати

ДУХ СВЯТОЙ И МЫ. Весть первая.


ДУХ СВЯТОЙ И МЫ. (Три вести о Святом Духе)

Взгляд на один предмет с трёх сторон.


Весть первая: РОЖДЕНИЕ СВЫШЕ.
«Не удивляйся тому, что Я сказал тебе:
Должно вам родиться свыше»
(Иоан. 3: 7).

(Библейское исследование).

Слова – синонимы.
Прежде чем приступить к исследованию столь важного вопроса, я со всей определённостью хочу заявить, что такие выражения, как «возрождение» (1 Петр. 1: 3), «рождение от Бога» (Иоан.1: 13), «рождение от Слова» (Иак. 1: 18), «рождение от Духа» (Иоан. 3: 6 – 8; Тит. 3: 5), «рождение свыше» (Иоан. 3: 5) и т. д. Говорят об одном и том же предмете и являются словами-синонимами. Это поможет избежать путаницы при дальнейшем изучении нашего вопроса, ибо пишущий эти строки встречал, например, заявление, что мол «возрождение» и «рождение свыше» – это разные переживания детей Божиих. Такое мнение не имеет никакого подтверждения в Св. Писании. Остаётся пожалеть, что существуют такие поверхностные взгляды в среде народа Божия по данному вопросу.
В связи с этим необходимо уточнить сразу, что выражение «рождение свыше» – это обобщающие слова и они заключают в себе вышеприведённые слова и словосочетания. Эти многообразные выражения указывают лишь на богатство библейского языка, но ни в коем случае не на разный смысл. Слово «свыше» в речи Христа указывает на небесное происхождение (от Бога с неба, а не от человека от земли). Сравните Иоан. 3: 31; 8: 23. «Я от вышних, вы от нижних, вы от сего мира, Я не от сего мира».
Слова же «рождение от Духа» указывают на решающий фактор силы жизни, дающий новую жизнь человеку. «Рождённое от Духа есть дух». (Иоан. 3: 6).
Весьма распространённым в настоящее время является мнение о рождении свыше и следовательно о спасении, основанное на словах «Ибо если устами твоими будешь исповедовать Иисуса Господом и сердцем твоим веровать, что Бог воскресил Его из мёртвых, то спасёшься (Римл.10: 9 – 10)». Я считаю такое мнение не серьёзным. Оно не выдерживает утверждения ясного учения Св. Писания. Это лишь отдельные слова, взятые из контекста. Будем же честны в исследовании нашего вопроса. Я могу привести целый ряд выражений из Слова Божия, говорящих не в пользу вышеприведённого мнения, таких как «Не всякий говорящий Мне Господи, Господи! Войдёт в Царство Небесное…Мф.7: 21-23; «Вера без дел мертва» (Иак. 2: 17). Сколько, например в мире людей, которые верят, что Иисус есть Спаситель и исповедуют свою веру, но сами так никогда и не отдали свою жизнь Господу. Наконец, «и бесы веруют и трепещут» (Иак. 2: 19). А они ведь тоже исповедуют Иисуса: «Знаем кто Ты, Святый Божий» (Марк.1: 24; Мф.8: 29).
Нет, Рождение Свыше – это не внешнее проявление наших убеждений и их исповедание, но внутреннее сверхъестественное переживание, основанное на действии Святого Духа. Всё внешнее можно подменить, но внутреннее – никогда! Тогда что же имел ввиду ап. Павел, когда писал эти слова Римлянам? – О, это так просто! Он противопоставляет здесь делам Закона, на которые уповали Иудеи, Закон Веры. «Ибо делами Закона не оправдалась никакая плоть». Потому и явился Христос к праведности всякого верующего.… Это общая установка учения о спасении.

Что не является Рождением Свыше?
Многие христиане всё ещё не имеют чёткого различия между понятиями рождения свыше и другими переживаниями детей Божиих. Они не задумываясь заявляют, что рождение свыше – это ничто иное, как покаяние, обращение и т.д. Но такое понятие не основано на Слове Божием. И это я хочу проиллюстрировать на одном примере. Пишущий эти строки однажды услышал заявление одного уважаемого проповедника, который сказал, что Савл (впоследствии ап. Павел) пережил духовное рождение на пути в Дамаск, когда он поверженный силою Божией, упал на землю. Но Писание так не комментирует этот случай. Если мы дальше читаем в Деяниях Апостолов относительно Савла, то видим, что он еще не пережил настоящего покаяния и прощения грехов. Откуда это видно? – Из слов Анании, которого послал Иисус, чтобы он докончил всё относительно этого богоборца. Анания сказал теперь молящемуся Савлу: «Брат Савл, что ты медлишь, встань, крестись, омой грехи твои, призвав имя Господа Иисуса» (22 гл. 12-16 ст.). Эти слова произнёс Анания, повторил сам Савл и записал Евангелист Лука. Из этих слов видно, что Савл на пути в Дамаск не только не был рождён свыше, но не пережил даже подлинного покаяния. Но тогда что же он всё-таки пережил , когда упал на землю, ослеплённый славой небесной? Я верю, что он пережил обращение. До этого он шел против Христа, с этого же момента покорился Христу, обратился к Нему со словами «что повелишь мне делать?».
Рождение свыше – это не покаяние, не обращение, это так же не водное крещение, не принадлежность к той или иной Церкви, это не получение духовного образования, не высоконравственная жизнь, это не участие в Вечере Господней, это не елеепомазание. Это не соблюдение Заповедей и т. д. Все эти моменты входят в переживания верующих, но Рождение свыше – это нечто особенное, чудное, славное! Это переживание, которое делает тебя дитём Божиим, наследником Вечности, сонаследником Иисусу Христу. Об этом мы и будем говорить ниже…

ДВА УЧИТЕЛЯ.
В основе учения о рождении свыше лежит беседа Иисуса Христа с Никодимом. Это записано в Ев. Иоанна 3: 1- 10. Удивительно, но остаётся фактом, что многие не уделяют должного внимания этому месту Св. Писания. Хотя именно здесь кроется ответ на волнующий вопрос из первых уст, т.е. из уст самого Сына Божия. Они охотно приводят много других параллельных мест из Слова Божия, тогда как именно беседа Христа с Никодимом и является исходным моментом в исследовании этого животрепещущего вопроса. Поэтому мы будем последовательными в исследовании этой истины.
Итак, мы в горнице, где идёт беседа двух учителей – Небесного и земного. Эта история оставлена на страницах Св. Писания не случайно, но чтобы открыть и для нас дверь в чудесный мир духовных вещей. О, как я благодарен Богу, что Он побудил Никодима ночью потревожить Небесного Учителя. Ночные беседы с Господом особенно ценны, они просто не заменимы. Под покровом ночной тиши духовные тайны. И в этом для нас урок, чтобы и мы находили эти «ночные часы» для уединённой беседы с нашим Учителем и Другом – Иисусом Христом, когда привычные тревоги дня не отвлекают нашего сердца, наших мыслей. Поистине верно слово «ночь ночи открывает знание» (Пс. 18: 3).

Кто такой Никодим?
Знакомимся ближе с этим гостем. Прежде всего это был фарисей – учёный еврей, который был обязан тщательно изучать Закон Моисеев и всячески поощрять народ исполнять его. Никодим был не простым последователем секты фарисеев, но был начальником Иудейским. Он получил прекрасное образование и достиг высшего титула «раввина». Он был учителем народа. Но с тех пор, как появился со Своими проповедями Иисус из Назарета, Никодим, как и все другие, сразу заметил огромную разницу между традиционным учением фарисеев и учением Иисуса, ибо Иисус учил «не как книжники и фарисеи, но как власть имеющий». Его учение подкреплялось властью от Бога. Т.к. оно освобождало людей от проклятия, греха, болезней… Подобного Никодим не встречал прежде. Более того, в глубине своей души он всё отчётливее чувствовал неудовлетворённость, пустоту, тоску по Вечному Царствию Божию. Жажда познания Истины и неудержимое стремление к Вечности и привели его тёмной ночью к ногам Неземного Учителя. Верю, что с тех пор Никодим уже навсегда остался с Иисусом. (Иоан. 7: 50-51; 19: 39).

Блаженны алчущие и жаждущие Правды. – Матф. 5: 6.
О, как мы должны благодарить Бога за этот духовный голод, за то внутреннее беспокойство, за эту жажду души, желающей знать Правду Божию! Когда религиозность перестаёт удовлетворять нас, когда внешняя форма служения становится ненужным бременем – это первый признак пробуждения души.
Я ещё хорошо помню то время после моего обращения, когда я посещал христианские собрания, где не проповедовалось Полное Евангелие. Там я слушал однообразные проповеди, пение гимнов, но как скучным для меня всё это было. Сидя в служении, я буквально боролся со сном. И Господь видел это.
Но вот в одно время когда я читал в своей комнате Слово Божие, а это было послание к Римлянам 8: 26-27, в душе появилось некое беспокойств. Я чувствовал, что в этих словах сокрыт непонятный для меня смыл. Я подозвал своего родственника, тогда ещё молодого проповедника, чтобы он помог мне, но он выслушав, отмахнулся и сказал, что и сам не знает, о чём здесь говорит апостол.
Но когда Господь положит Свой перст на какое место Писания, человек уже не может освободиться от бремени вопросов и я начал ходить по домам, где проживали проповедники, но они явно не понимали меня. Тогда я обратился с письмом в братский центр. Посетивший после нашу общину один из высших братьев своим ответом не удовлетворил моего сердца. «Христианство» не дало мне сердечного мира и радости.
И тут Господь «вмешался» Сам. Он прислал в наш дом одного молодого проповедника, которого я раньше не знал. И я тут же задал ему свой вопрос, на который он по данной ему премудрости, начал свой ответ издалека. Вначале он рассказал мне о своём чудесном обращении к Господу, затем стал обстоятельно объяснять мне о Святом Духе и дарах духовных. В этом как раз я и нуждался и с этого момента у меня появился живой интерес к духовной жизни, исканию духовного возрождения. Жизнь обрела смысл – благодарение Господу! Только у ног Иисуса мы найдём ответ на волнующие нас вопросы. Аллилуйя!

Иисус знает сердечные тайны.
Итак, мы в горнице, где продолжается беседа Христа с Никодимом. Верю, что этой встрече надлежало быть в плане Божием. Не только «надлежало» Иисусу проходить через Самарию (Иоан. 4: 1), чтобы возвестить спасение грешнице и через неё всему городу, но надлежало прийти и Никодиму к Иисусу, чтобы через это обнародовать всему человечеству «Манифест о Новом Рождении». Я представляю, с какой любезностью Иисус принял своего гостя. Он уже знал его нужду, знал как она велика, как не знал, быть может, и сам Никодим.
Никодим был интеллектуалом, он намеревался произнести свою умную приветственную речь и начал её с того, что сказал: «Равви, мы знаем, что Ты – Учитель, пришедший от Бога; ибо таких чудес, которые Ты творишь, не может творить никто, если не будет с ним Бог…
И тут Иисус приступает прямо к делу, ибо Он глядел прямо в душу Никодима. Он как бы говорит: знаю, что ты не удовлетворён твоим состоянием и положением, что ты ищешь Царствия Божия, но чтобы войти в него, необходимо родиться свыше. И подкрепляет Свои слова дважды «истинно, истинно». Нам стоит обратить внимание на весь авторитет этих слов.
Итак, сердечная тайна Никодима раскрыта и с его уст срывается вопрос: «Как может человек родиться, будучи стар? Неужели он должен в другой раз войти в утробу матери своей и родиться?» Вы улыбаетесь над наивностью Никодима? Но не умаляйте этого вопроса и не считайте ответ таким однозначным, ибо свидетельствую Словом Господним, что многие христиане не имеют об этом ясного понятия. Господь укорил Никодима в его незнании потому, что тот был учитель народа. Одновременно этот упрёк относится и ко многим учителям в Церкви Христовой ныне. Никодим должен был знать, что о рождении свыше говорилось уже раньше в древних писаниях пророков. Христос, укоряя Никодима, как бы говорил: «Как же ты, уча других, не учишь себя самого?»
Итак, мы подошли к вопросу:

ЧТО ЖЕ ГОВОРЯТ О НОВОМ РОЖДЕНИИ ВЕТХОЗАВЕТНЫЕ ПИСАНИЯ?
Замечательные места, которые мы находим в Слове Божием, с особой ясностью указывающие на новое рождение, следующие: Иер. 31 гл. 31 – 33 ст. «Вот наступают дни, говорит Господь, когда Я заключу с домом Израиля и с домом Иуды новый завет, - не такой завет, какой Я заключил с отцами их в тот день, когда взял их за руку, чтобы вывести их из земли Египетской; тот завет Мой они нарушили, хотя Я оставался в союзе с ними, говорит Господь. Но вот завет, который Я заключу с домом Израилевым после тех дней, говорит Господь: вложу закон Мой во внутренность их и на сердцах их напишу его, и буду их Богом, и они будут Моим народом».
Об этом же самом пророчествовал и пророк Иезекииль: …»и дам им сердце единое, и дух новый вложу в них, и возьму из плоти их сердце каменное и дам им сердце плотяное»…Иез. 11 : 19). И ещё: «и дам вам сердце новое и дух новый дам вам; и возьму из плоти вашей сердце каменное и дам вам сердце плотяное. Вложу в вас Дух Мой» (Иез. 36: 26-27).
Слова «новое сердце» и «новый дух» определенно указывают на духовное перерождение. А самый момент духовного возрождения Господь определяет, как Новый Завет. И этот Новый Завет Он противопоставляет Ветхому Завету, который Он заключил с сынами Израилевыми в «оный» день, когда вывел их из Египта. Тот завет оказался бессильным повлиять на старую природу человека. Поэтому на смену ему надлежало прийти Новому Завету. Об этом говорит и ап. Павел: «Ибо если бы первый завет был без недостатка, то не было бы нужды искать место другому. Но пророк, укоряя их, говорит: «вот наступают дни, говорит Господь, когда Я заключу с домом Израиля и с домом Иуды новый завет. Не такой завет, какой Я заключил с отцами их в то время, когда взял их за руку, чтобы вывести их из земли Египетской; потому что они не пребывали в том завете Моём, и Я пренебрёг их, говорит Господь.
Вот завет, который завещаю дому Израилеву после тех дней, говорит Господь: вложу законы Мои в мысли их и напишу их на сердце их, и буду их Богом , а они будут Моим народом… Говоря «новый», показал ветхость первого; а ветшающее близко к уничтожению» (Евр. 8: 7-13).
Продолжая поиски настоящей истины, мы стали перед вопросом:
ГДЕ же Бог заключил первый завет в древние времена? – Ап. Павел говорит: «Он дал нам способность быть служителями Нового Завета, не буквы, но духа, потому что буква убивает, а дух животворит». «Если же служение смертоносным буквам, начертанным на камнях»…(2Кор.3:6-7). Это повествование приводит на в пустыню к горе Синайской, где Бог дал Свой завет сынам Израилевым на двух каменных скрижалях, названных «скрижалями завета» (Евр.9:4).
И вот этот-то завет сыны Израиля нарушили. Этот завет оказался бессильным переродить человеческое сердце. Слова, написанные на каменных скрижалях, не могли сделать «каменные» сердца «плотяными». Это было лишь прообразом того, когда на плотяных скрижалях сердца должны быть написаны заповеди Божии Духом Святым.
И Никодиму н а д л е ж а л о б ы э т о з н а т ь!…
Продолжая дальнейшее исследование, мы теперь оказались лицом к лицу перед следующим вопросом:
КОГДА же был заключён Ветхий Завет, т. е. Даны скрижали завета народу Божию? Это так важно знать и мы вскоре в этом убедимся. Читая Слово Божие, мы находим, что это было на 50-й день после выхода их из Египта. (Исх. 12: 6; 19: 1, 11). Израильский народ празднует этот день каждый год, воспевая данную им Богом Тору (Закон).
На этом слове я должен прервать на время дальнейшее рассуждение. Мы ещё вернёмся к этому месту, а теперь пора задать всем вопрос:

Что такое человек? – Пс.8: 5.
Великий русский писатель, однажды рассуждая, произнёс: «Человек – это тайна и её надо разгадать». Хочу сказать от себя, что трудная эта задача. Но тем не менее, мы должны «вникнуть в себя», чтобы хотя отчасти иметь познание о себе самом, ведь это так важно. Мудрецы издревле считали человека неким микрокосмосом, когда говорили: «Познай самого себя и вместе с собой всё». Итак, что такое человек? Это верно, что человек есть образ и подобие Божие. (Быт.1: 26-27). Также верно и то, что подобно своему Создателю, человек является ТРИЕДИНОЙ личностью и представляет из себя связь ДУХА, ДУШИ и ТЕЛА. В начале Бог сотворил из праха, или как сказано в оригинале, из красной глины, тело человека. Затем вдохнул в него дыхание жизни (Быт. 2: 7), или же д у х (Еккл. 12: 7), в результате чего человек стал душою живою. На триединство человека указывают и слова ап. Павла: «И ваш дух и душа, и тело во всей целости да сохранится в пришествие Господа Иисуса Христа (!Фес. 5: 23). Что такое наше тело – это ясно. Оно так реально существует, что ни у кого не вызывает ни малейшего сомнения. Но так же реально существует и дух и душа. И они имеют границы, ибо сказано: «Слово Божие проникает до разделения души и духа» (Евр.4:12). Из этого видим, что дух – это одна сущность, а душа – другая. Как дух, так и душа относятся к духовной части человека. Дух – это мой внутренний человек (2Кор. 4:16; 1Петр. 3:4), это моё «Я».
Итак, Человек - это не физическое существо, а духовное, Человек - это ДУХ. Дух выражает себя через душу (в чувствах, мыслях и в воле), а душа выражает себя через тело. Это правда, что когда мы видим тело человека, то видим не самого человека, а лишь его внешнее облачение, так сказать, его домик, в котором он живёт. Сам же человек (дух) остаётся невидимым для плотского глаза. Наука не признаёт в человеке духа в том смысле, как об этом говорит Библия. Правда существует в науке выражение «подсознание», т. е. Скрытая часть человека. Но мы знаем, что это ничто иное, как дух – это духовный человек. Таким сотворил Бог человека. Это Уникальное Творение.

ДУХ, ДУША, ТЕЛО.
Что такое дух человека? Мы уже говорили, что это внутренний бестелесный, духовный человек. Но этот человек «сокровенный»,а мы желаем иметь о нём представление. Поэтому нам нужно знать, что же относится к духу? Тело, например, имеет пять органов чувств (зрение, слух, обоняние, осязание, вкус). И это для нас уже аксиома. Душа более или менее тоже объяснима. Психологи, занимающиеся изучением души, соглашаются, что составными частями души являются разум, чувства и воля.
А что такое дух? «Специалисты» здесь абсолютно бессильны, ибо они-то совсем отвергают существование духа. Но мы знаем, что дух так же реален, как тело и душа. Тогда что же относится к духу? – Думаю не ошибусь, если скажу: интуиция, совесть и познание (не логическое знание, которое относится к душе, а прямое познание 1Кор. 2: 11; 14: 2).
Однако, не следует считать, что будто бы интуиция, совесть и познание – это и есть дух. Вовсе нет. Дух – это человек и этого никак не следует забывать. Но этот человек имеет свои атрибуты и мы их называем: совесть, интуиция, познание.
Душа – тоже человек, но этот человек имеет чувства, разум и волю. В свою очередь, чувства, разум и воля – не есть душа, но относятся только к душе.
А тело? - И тело - человек, хотя и внешний. И этот внешний человек имеет, как мы уже говорили, пять органов чувств (зрение, слух, обоняние, осязание, вкус) для выхода во внешний материальный мир внутреннего человека. И хотя тело является всего лишь хижиной для внутреннего человека, однако оно тоже человек, а пять его органов чувств всего лишь его атрибуты.
Некоторые возможно в недоумении от такого объяснения, но не забывайте, что Человек – это триединая личность, как и Господь Бог Триедин. Помните, что в начале Бог сотворил человека из праха, затем вдохнул в него дух и в результате человек стал душою живою. (Быт. 2: 7). Итак, Человек в полном объёме – это дух, душа, тело.

СЕРДЦЕ.
Нельзя умолчать и о таинственном и сокровенном органе человека – сердце. Вспомним слова апостола: «Но сокровенный сердца человек в нетленной красоте кроткого и молчаливого духа» (1Петр. 3: 4).
А это что ещё? – озадаченно воскликнут некоторые, - четвертый человек?…
- Конечно же нет! Но этот Триединый Человек имеет своё сердце. Не только внешний человек имеет обыкновенное мышечное сердце-насос, но и духовный человек имеет духовное сердце.
Иные считают, что сердце и дух – это одно и то же, но это явное упрощение проблемы и я не могу с этим согласиться, ибо Писание определённо говорит о сердце и о духе. Вспомним пророков Иеремию и Иезекииля, которые говорят о «новом сердце» и о «новом духе». Я не претендую на абсолютное познание, но как говорит апостол: «А теперь мы знаем отчасти». Согласен с мнением, что духовное сердце – это нечто общее с душою и духом. Не душа и дух, но нечто общее у души и духа. Это внутренняя жизнь духовного человека, центр всех душевных и духовных движений и возбуждений. Воистину прав человек Божий, когда восклицает: «Я дивно устроен!»
У невозрождённого человека доминирующее влияние на сердце оказывает плоть, т.е. греховное тело. В результате его сердце выполняет не команды духа, который как бы парализован, а указания (вожделения) плоти. Вот почему Господь мечом духа «обрезает» эту «крайнюю плоть», отделяет её от сердца, соединяя взамен дух человека с Духом Святым. И это происходит в тот момент, когда Дух Святой входит в человека…
Но нашей целью теперь является не выявление таинственной личности человека, хотя я и пытался в этом разобраться. Мы поставили перед собой совсем другую задачу: выяснить сам момент духовного переживания человека, который называется «возрождением» или же «рождением свыше».
А теперь продолжим наши рассуждения.

Падение Человека.
Верю, что в лице Адама Бог сотворил человека совершенным. Не смотря на это человек через непослушание заповеди Божией пал. И это падение называется грехом, который и привёл Адама к смерти, ибо сказано: "« день, когда ты вкусишь от него (дерева) -–согрешишь, смертью умрёшь. Адам согрешил и умер для Бога в тот час же. Умер духовный человек – у мер дух. Законы смерти распространились и на его душу и на его тело. Таким образом, человек стал смертным во всех трёх измерениях.

Попытки обновить Человека.
В разные времена человеческой истории появлялись личности, которые делали попытки обновить мир, возродить человечество. Для этого они создавали свои учения, строили свои религиозно-философские системы. Сократ с Платоном, Будда, Магомет, Конфуций и многие другие бесплодно пытались возвысить личность человека над материальным миром путём исправления греховной природы. Но все их попытки, как мы знаем, ни к чему не привели, но ещё больше уводили людей от цели. Эти высеченные мыслью человеческой «разбитые водоёмы не могли держать воды» (Иер. 2: 13). Или же как сказал этот пророк: «Может ли ефиоплянин переменить кожу свою и барс пятна свои, так и вы можете ли делать доброе, привыкшие делать злое? (Иер. 13: 23). Ибо по словам Христа, «зло исходит из злого сердца человека» (Лук. 6: 45).
Изменить это «злое сердце» не может никто из людей, никакое учение и никакая религия. Даже христианская. Изучение Заповедей не поможет, не поможет и никакое старание сделаться лучшим. Это будет похоже на подкраску фасада гнилого здания. Или, говоря словами Евангелия, на «подкрашенные гробы» (Мф. 23: 27-28). Это будет просто лицемерие и самообман.
Поэтому необходимо изменить сердце не усилием человека, но путём вмешательства Божия. Только Бог может сделать эту операцию, «обрезать сердце», отделить от него «крайнюю плоть», т.е. отделить дух от плоти и, если хотите, «сделать операцию по пересадке сердца». Когда вместо «каменного» сердца Бог даёт новое «плотяное» (Иез. 36: 26; 11:19).
Это и есть РОЖДЕНИЕ СВЫШЕ (не от человека, но от Бога).
Обо всём этом и будет идти речь ниже.

Пришествие в мир Христа.
Чтобы возвратить человека к Богу и явился Сын Божий Иисус Христос. Об этом подробно повествует нам весь Новый Завет. Христос родился от Духа Святого, принёс Себя в жертву Духом Святым, воскрес силою Духа Святого и, таким образом, получил полную власть от Отца воскрешать к новой жизни всякого человека посредством Рождения Свыше. Поскольку человек – это дух, его и возродить может только духовная сила, т.е. Дух Божий. Вот почему сказал Иисус Никодиму: «Рождённое от плоти есть плоть, а рождённое от духа есть дух».
Как это может быть?
С таким вопросом обратился ко Христу Никодим. С таким же вопросом обратилась Дева Мария к ангелу Гавриилу, когда он возвестил ей о предстоящем рождении от неё Иисуса «Как это может быть?»… И вот что ей ответил посланник Божий: «Дух Святой найдёт на тебя и сила Всевышнего осенит тебя»…
Многие говорят, что духовное возрождение происходит от Слова Божия и от Духа Святого, но все ли понимают, как это происходит? Говорят, например, что рождение от Слова – это одно, а рождение от Духа – другое. Но это не так. Слово Божие и Дух Святой действуют заодно. Прочтём внимательно снова диалог между Ангелом и девой Марией: - Как это может быть? – спрашивает Мария.
Ответ Ангела гласит:
- Дух Святой найдёт на тебя и сила Всевышнего осенит тебя…
Ответ Марии:
- Се раба Господня, да будет мне по Слову твоему.
После этих слов Марии Ангел отошёл, а Мария зачала Сына.
Подведём итог:
1 – Бог послал Марии Слово через Ангела.
2 – Мария приняла Слово верою, таким образом отдала себя Духу Святому.
3 – Дух Святой произвёл действие и в результате родился Иисус Сын Божий.
Эта же закономерность существует и при духовном возрождении всякого новозаветного верующего. В основе рождения свыше всё ещё является Слово Божие и Святой Дух. Через Слово Божие мы получаем познание о грехе, о покаянии, прощении грехов, об искупительной жертве Сына Божия… о Рождении Свыше. НО решающим фактором, силой возрождающей является Дух Святой. На Него то и указывает Иисус Христос Никодиму: «Рождённое от Духа есть дух» (Иоан.3: 5-6).
Вначале я говорил о словах-синонимах. «Возрождение», «Рождение от Бога», «Рождение от Слова», «Рождение от Духа», «Рождение Свыше» и являются этими словами-синонимами. Все они говорят об одном и том же, а именно о НОВОМ РОЖДЕНИИ, и являются всего лишь разнообразной формой библейского языка.
Но многие христиане, пытаясь объяснить вопрос о рождении свыше, сознательно или несознательно манипулируют этими словесными выражениями. Но здесь не должно быть места для человеческих манипуляций. Нам говорят, например, ссылаясь на стихи 15-18 из 3-ей главы Евангелия от Иоанна, что быть верующим – это и есть родиться свыше. Но они толкуют эти стихи вне контекста речи Иисуса Христа. Здесь нет ничего трудного для понимания. Смысл Его слов таков:
1 – Рождение свыше производит Дух Святой. (Иоан. 3:6),
2 – Рождение свыше не может быть помимо искупительной жертвы Иисуса, Его смерти и воскресения. Эта же мысль выражена и в словах Ап. Павла: «Когда же явилась благодать и человеколюбие Спасителя нашего Бога, Он спас нас не по делам праведности, которые бы мы сотворили, а по Своей милости, банею обновления и возрождения Святым Духом, Которого излил на нас обильно через Иисуса Христа, Спасителя нашего» (Тит. 3: 4-7).
Я снова должен возвратиться к вопросу: Что есть Человек? Раньше я на основании Слова Божия неоднократно подчёркивал, что настоящий Человек – не внешний, а внутренний, т.е. наш дух. Следовательно, и рождается к новой жизни (рождается свыше) именно дух. А дух может возродить только Дух., что и совершает Дух Божий. Об этом-то и говорит Господь Никодиму: «Рождённое от Духа есть дух». (Иоан. 3: 6).
Классическим примером взаимодействия Слова Божия и Святого Духа является в случае, описанном в 10-ой главе Деяний Апостолов. Читаем:
«Когда Пётр продолжал ещё речь, Дух Святой сошёл на всех слушавших Слово. И верующие из обрезанных, пришедшие с Петром, изумились, что дар Святого Духа излился и на язычников»…(Д. А. 10: 44-45).
Некоторые спросят, есть ли какая связь между рождением свыше и тем, что произошло в доме Корнилия? – Отвечаю: самая прямая связь. Вот теперь мы и возвратимся

Назад к двум Заветам.
Помните, мы говорили о двух Заветах перед тем, как поставили вопрос: Что такое Человек? Тогда мы обнаружили, что место, где был заключён Ветхий Завет, была гора Синай, а время заключения Завета – 50-й день после выхода из Египта сынов Израиля. И это не случайно, здесь сокрыта очень важная истина и мы это сейчас увидим.
Выход Израиля из Египта в свете Св. Писания является ПАСХОЙ. (Слово Пасха означает спасение, избавление).
От дня же Пасхи до получения Скрижалей Завета у горы Синай прошло 50-т дней. И это была первая ПЯТИДЕСЯТНИЦА.
Впоследствии по Закону Израильский народ праздновал в году три главных праздника: Пасху, Пятидесятницу и Кущи. Эти Праздники прообразно указывают на Триединого Бога. Кущи указывают на Бога-Отца, Пасха – на Бога-Сына, а Пятидесятница указывает на Бога-Духа Святого. Подробно об этом я изложил в статье под названием «ПЯТИДЕСЯТНИЦА».
Закланный Агнец в Египте говорит нам об Иисусе Христе, как Истинном Агнце Божием, умершем за грехи наши на Голгофе в Пасхальный праздник. (Пасха на 120 человек в присутствии собравшихся на Праздник Иудеев. Это была та самая «Баня обновления и возрождения Святым Духом, Которого излил Бог через Иисуса Христа (наша Христос, заклан за нас – 1Кор. 5:7). А после Пасхи (распятия и воскресения Христа) через 50-т дней был Праздник Пятидесятницы. В этот день в Иерусалиме и сошёл Святой Дух (Титу 3: 5-6). В этот день Пятидесятницы и РОДИЛАСЬ ЦЕРКОВЬ Христова. Родился каждый в отдельности из тех, на кого сошёл Святой Дух. Все 120 человек были крещены в Духе Святом в одно тело (Церковь) – 1Кор. 12:13. Это именно событие и предсказывали пророки Иеремия, Иезекииль, Иоиль… Только одни (Иеремия, Иезекииль) указывают на действие Святого Духа в деле возрождения (действие внутрь), а Иоиль – на внешний эффект (пророчество), на что ссылается ап. Пётр в день Пятидесятницы, ибо там люди как раз и обратили внимание на проявление Духа Святого (говорение на иных языках о великих делах Божиих). Это как бы две стороны одной медали..
Здесь я хочу уделить больше внимания Завету между Богом и Человеком. Для этого прошу ещё раз прочесть из пророка Иезекииля 36 гл. 24-25 ст. Обратите внимание на слова «окроплю вас водою чистою». А в стихах 26-27 уже говорится о «новом сердце и новом духе», обновлённых Духом Святым.
В Евангелии же от Иоанна 3:5 сказано, что должно родиться от воды и Духа». Это не случайное совпадение слов, но удивительное созвучие Духа. Слово «вода» в этом случае означает ничто иное, как воды покаяния, чего ни в коем случае нельзя умалять. Мф. 28:19; Мр.16:16; Деян. 2:38 и т.д.
Духовное возрождение включает в себя два элемента: отрицательный и положительный. Покаяние с оставлением грехов и есть отрицательный элемент, принятие же Духа Святого есть элемент положительный. Вот почему в акте рождения свыше участвуют две стороны – человек и Бог.
Завет – это договор или союз в данном случае двух сторон. Человек в водах крещения даёт обет Богу в верности служить Иисусу Христу. (1Петр. 3:21). Этим он как бы протягивает руку» своему Спасителю. Со Своей стороны Иисус Христос крестит Духом Святым и этим «протягивает» Свою руку и как бы подписывает договор с человеком, запечатлевая ПЕЧАТЬЮ Духа Святого (Еф.1:13; 4:30). Смотрите так же Деян. 19:1-7. В это время человек получает новое сердце и новый дух. Человек рождается свыше.
Часто бывает, что человек ещё не успеет принять водное крещение, как Иисус уже со Своей стороны крестит его Духом, как это было в доме Корнилия (Деян. 10: 44-48). Бог ведь смотрит на сердце.
Итак, Пятидесятница для нас – Праздник возрождения, день рождения свыше. Аллилуйя!

Религия и Жизнь.
На возрождение указывает и 37 гл. книги пр. Иезекииля, ст. 1-14 (пожалуйста, прочитайте). О, не говорите только, что это относится лишь к Израилю, его будущему возрождению. Слово Божие живо и действенно и в равной мере говорит и о нашем возрождении.
Это верно, что пророк предсказывал о восстановлении нации и духовного возрождения государства Израильского в последние дни. И это слово теперь исполняется. «Сухие кости» пришли в движение, они сближаются друг с другом, возвращаются в свою землю на горы Израилевы. В сущности, религиозное движение Сионизма способствует этому возвращению на Сион. Но Сионизм не может сделать большего, как только собрать народ вместе, создать Государство. «Кости обросли плотью». Это возрождение национальное. Но уже близко время, когда исполнится и вторая часть этого пророчества, когда Господь вдохнёт в них Свой Дух и они оживут. И это будет духовное возрождение Израиля в полном смысле этого слова. «Страна родится в один день» (Ис.66:8).
Но что всё это значит для нас? – А то, что религия только способствует сближению духовно мёртвых костей, создаёт только общества, церкви, союзы – создаёт только некое подобие жизни. Но это лишь «кости, обложенные плотью», но подлинная жизнь возникает только после того, как Всемогущий Бог «дохнёт от четырёх ветров» Духом Своим на эти общества религиозных людей. Только Дух Святой животворит, возрождает… И это называется Рождением Свыше, когда в момент крещения Духом Святым Господь сливает в один духовный сплав (в тело Христово) Иудеев и Елленов, рабов и свободных – создаёт в Самом Себе одного нового Человека (1Кор.12:13).
Эта же истина была раскрыта уже на заре зарождения жизни, когда Господь Бог творил Человека. Из праха земли Он создал подобие живого человека – тело Адама, но лишь после того, как Сам Творец вдохнул в его лицо дыхание жизни, стал человек «душою живою». Я повторю: только после того, когда Сам Творец соединился через дыхание Духа Своего с этой формой человека (костями, обложенными плотью), человек стал ЧЕЛОВЕКОМ, т.е. духовной личностью. Сравните: «соединяющийся с Господом есть один дух с Господом» (1Кор. 6: 17). Не чудно ли это?!

Видения и откровения Господни.
Апостол Павел, защищая своё апостольство перед Коринфянами, вынужден был прибегнуть дополнительно к видениям и откровениям Господним (2Кор. 12: 1).
Считаю уместным поделиться с читателями теми видениями и откровениями, свидетелем которых я был. Верю, что благоговейные дети Божии, являющиеся членами Церкви Полного Евангелия, могут вспомнить и в своей жизни подобные переживания, когда Дух Божий давал картины относительно Рождения Свыше. Например, перед тем, как пережить крещение Духом Святым, человек видит во сне, что он «находит» или же ему «дают» обручальное кольцо. Или же кто-то видит в видении во время молитвы о крещении Духом, кандидату на получение Св. Духа «одевают обручальное кольцо на палец или же кольцо спускается с неба и т. д. (Обручальное кольцо – это символ Завета Божия с человеком, о чем говорилось выше Кто-то из ревнующих о крещении Духом Св. видит во сне, что держит на руках ребенка (обязательно мальчика) или же младенец вселяется в него. Или же, например, во время молитвы видит в разных вариациях «Женщину», «огромную женщину», держащую на руках младенца или кормящую грудью младенца… Кто-то в Духе произносит слова: «роды, роды» и т. д. И Господь открывает значение этих слов: Это Духовная Сарра, которая рождает детей для Царствия Небесного. (Гал. 4: 23 –27).
Мы знаем, что у Авраама было два сына – один от рабы, а другой от свободной, т.е. от Сарры, который был рождён по обетованию (ст. 23). Аврааму же было сказано, что в семени его, т. е. В Исааке, который есть прообраз Иисуса Христа, в котором благословятся все народы (Гал. 3 : 16 ). Таким образом, благословения Авраама пришло через Иисуса Христа, пришло на всех людей, чтобы обещанного Духа мы получили через веру (ст. 14 ).
Вдумайтесь только! Воистину это чудно. Аллилуйя!
И в заключение расскажу один случай, который произошел в жизни моего друга. Однажды он посетил одну общину, в которой не принималось учение о крещении Святым Духом. После служения, в котором принимал участие и он, его пригласил в свой дом на обед пастор этой общины. За столом он поделился с моим другом своими планами. «Я, - сказал он, - собираю материалы для журнала о том, как мы начинали Евангелизацию в своей местности, как боролись с Пятидесятниками»… Далее, друг мне сказал, что он считал не удобным за столом в гостях вступать с ним в дискуссию. Распрощавшись, он вернулся в свою местность. Вскоре до него дошёл слух, что тот пастор заболел. «Я, - продолжал рассказ мой друг, - в своей молитве просил Бога, чтобы Он исцелил его. Вдруг. Я почувствовал присутствие Духа Святого и через мои уста были произнесены такие слова: «Ему дано было время родиться свыше, но он пренебрёг и потому Двери Рая для него закрыты навсегда». От этих слов мой друг пришёл в смущение. Как могут быть сказаны еще при живом человеке такие слова? И он отправился в ту местность, чтобы узнать, что там случилось? Оказалось, что в то время, когда он молился об исцелении больного пастора, его уже не было в живых.
Вы можете сомневаться в этом, но это был факт.
Я обращаюсь к читающим эти строки, отнестись со всей серьезностью к тому, что здесь сказано, ибо это воистину «Видения и откровения Господни».


В качестве приложения.
Дух Усыновления.
Много говорят об усыновлении, о духе усыновления, но часто применяют слова Св. Писания произвольно, вырывая их из контекста. Говорят, например, «сей самый Дух свидетельствует духу нашему, что мы дети Божии» (Римл. 8: 16 ), не имея ясного представления, как Он свидетельствует. Поэтому прочтём 15-16 стихи6 «Потому что вы не приняли духа рабства, чтобы опять жить в страхе, но приняли Духа усыновления, которым взываем «Авва-Отче». Прочтём так же из послания Галатам (4: 6-7): «А как вы сыны, то Бог послал в сердца ваши Духа Сына Своего, вопиющего «Авва-Отче». Посему ты уже не раб, а сын».
Дитя ли ты Божие? Взывает ли Дух Святой в твоём сердце «Авва-Отче» (Отец мой)? Приходит ли к тебе Дух Божий подобно веянию ветра? Слышишь ли ты Его голос? Если да, то славь Бога, что ты являешься наследником Божиим, сонаследником же Иисусу Христу по праву рождения свыше. Помни, что так бывает со всяким рождённым от Духа (Иоан.3: 8 ).

Дух Христов.
В 8-й главе послания к Римлянам сказано: «Если же кто Духа Христова не имеет, тот и не его». Некоторые говорят, что Дух Христов – это не Дух Святой, а характер Иисуса Христа. Такое понятие не основано на Слове Божием. Писание говорит как раз об обратном, а именно – Дух Христов и Дух Святой – это один и тот же Дух Божий и является Личностью Святой Троицы. Следующие места Писания свидетельствуют об этом:
1 – Римлянам 8: 16.
Здесь говорится о Личности, «взывающей»…
2 – Галатам 4: 6 –7 «Духа Сына» (Иисуса Христа),
3 – 1 Петра 1:10-11 «Дух Христов в пророках»
4 – Деян. Ап. 16 :6-7 «Дух Иисуса Христа» (оригинал).
5 – Филип. 1 : 19 «Содействии Духа Иисуса Христа».



Вместо послесловия.
Вопрос о Рождении Свыше, хотя и относится к «начаткам учения Христова», тем не менее, он актуален и в наши дни. Помню мою встречу с двумя ведущими братьями – благовестниками Евангелия. Я был тогда молодым. И мой друг представил им в двух словах мои понятия о рождении свыше. Братья поспешили тут же выразить своё несогласие с моими понятиями. Тогда я попросил их выслушать выводы из Слова Божия. И когда я в сжатом виде изложил им мои взгляды, дорогие братья без дальнейшего рассуждения сказали: «Так оно и есть, и иначе понимать нельзя».
Спустя много лет у меня была еще встреча с благовестником Евангелия. И когда я предложил ему этот же вопрос о рождении свыше, он долго ходил взад – вперёд и, наконец, сказал: «ну ты и задал мне задачу». И он очень сожалел, что на эту тему так мало проводится бесед среди служителей. Впоследствии подобные высказывания от братьев я слышал много раз. Вот почему я нашёл необходимым учение о Рождении Свыше изложить на этих страницах.



Комментарий автора:
От автора.
1. Вопрос о рождении свыше всегда волновал моё сердце. Духовной литературы на эту тему я не встречал, а те, крайне поверхностные ответы, которые я получал от людей, меня никак не могли удовлетворить. Более того меня всегда поражало с какой несеръёзностью многие подходили к этому вопросу, хотя он настолько велик, что наше место в Вечности полностью зависит от того, рождены мы свыше или нет. Этот вопрос преследовал меня долгие годы. Я буквально вынашивал его в своём сердце и эти строки родились в результате многих духовных мук и личных переживаний.
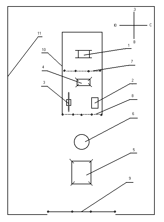
2. Иллюстрация относится к Вести третьей "Живая скиния". Обозначения к иллюстрации: 1. Ковчег Откровения 2. Стол для хлебов предложения 3. Светильник (Менора) 4. Алтарь для курений
5. Жертвенник для сожжений 6. Чаша для омовений
7. Завеса Святого Святых 8. Завеса Святого
9. Завеса двора 10. Святилище
11. Ограда двора

Об авторе все произведения автора >>>

В. Навлинский, Эстония
17.июня 2020 года автор перешел в Небесные Обители, куда он так стремился, прожив на земле 85 лет. Много прошел, много пережил, оставил много духовного наследия. Да благословит Господь всех читающих строки, написанные его рукой.
P.S. Виктор Навлинский- Виктор Лукутин - это одна личность. Витей Навлинским его звали друзья с его родины - Навли, Брянской области. Лукутин - фамилия его мамы.

 
Прочитано 15825 раз. Голосов 2. Средняя оценка: 3
Дорогие читатели! Не скупитесь на ваши отзывы, замечания, рецензии, пожелания авторам. И не забудьте дать оценку произведению, которое вы прочитали - это помогает авторам совершенствовать свои творческие способности
Оцените произведение:
(после оценки вы также сможете оставить отзыв)
Отзывы читателей об этой статье Написать отзыв Форум
garik titantan 2005-01-10 05:38:53
-slava tebe Gospod,chto nas mnogo.Ya buduchi rozdyon sviche prochu chtob Ti pomazal moego brata.Podnimi svoi narod Gospadi! i slavsya cherez nix.Alilyia.Amin.
 Комментарий автора:
Аллилуйя! Аминь!

Агина 2005-01-24 19:17:59
спасибо это статъя очень великолепно хочу читать вторую часть
 Комментарий автора:
Слава Господу! Да благословит всех Господь!

Серафим 2005-04-14 19:35:41
Рождение свыше-начала пути к "обожжению". Начала пути к избавлению от смертной природы которую мы получили в наследство от Адама.
Мы не получили Адамов грех т.к. этот грех очищен кровию господа Христа.
Рождение Свыше-становление частичкой Тела Христова с помощью Святого Причастия.
 
hela 2005-12-20 16:45:11
Всё шло правильно до главы Рождение ИИсуса.
1,НИКАКИМ ВОДНЫХ КРЕЩЕНИЕМ человек не может соединиться с Иисусом.
2.Человек должен признаться самому себе,что он НЕ МОЖЕТ не ГРЕШИТЬи ЗАПОВЕДИ даны не для того,чтобы их 100% соблюдали,а чтобы человек понял,что НИКОГДА не может он их соблюсти и положился на Бога.
3.Иисус принёс свою кровь в жертву за ВСЕ ВСЕ ВСЕ наши грехи и тот,кто постоянно кается и бьёт поклоны-не верит этому,следовательно не верит Богу.О каком спасении речь???
На сегодняшний день Истинное Спасение и Рождение Свыше можно получить только в КОВЧЕГЕ и этой миссией.
В Киеве это тел.4432420,ул.Тешебаев 12/2
Приходите и получите
Бесплатно!
 
Геннадий Митченко 2006-06-24 18:03:24
Вопрос о рождении свыше сегодня самый актуальный в христианском мире. Спасибо за проповедь
 
Лора Попова 2007-06-18 17:34:28
Чистое, помазанное силою слово от Бога!
Духу Святому - отлично,5.
Как сказал Бог, так и сделал: ВСЕЛЮСЬ в них и буду ходить в них; НЕ ЗАБОТЬТЕСЬ, ЧТО ГОВОРИТЬ, ибо дух Отца Вашего будет говорить в вас.
Так и происходит: уже не мы живем, но живет в нас Христос! И ГОВОРИТ, И ДЕЙСТВУЕТ! В МЕРУ ВОЗРАСТА ДУХОВНОГО; но желания сердца Отца, чтобы КАЖДЫЙ из нас достиг меры полного возраста Христова и действовал СООТВЕТСТВЕННО.
Как интересны откровения Божии!
О жене, родившей младенца...
Мне тоже было такое понимания, что люди религиозные не поняли видений Божиих; и жену, рождающую младенца в мир, образ откровения Иоанна Богослова, стали почитать иконою, поклоняться запечатленному видению вместо Творца. Возможно, вначале это понималось правильно, но со временем религия убила то живое, что попытался запечатлеть видивший это видение.
Ортодоксальная христианская религия сохранила знание, что до 6 века церковь говорила на языках, КАК Дух ДАВАЛ ПРОВЕЩЕВАТЬ, а потом этот дар исчез. Возлюбленные, а ведь Слово Божие говорит НЕ ТОЛЬКО о говорении иными языками, но и о даре истолкования, как о чем-то вполне естественном и обячном для духовной жизни поместных церквей. Много ли у нас истолкователей в КАЖДОЙ церкви, говорящей языками? если нет, то нам есть о чем подумать. Но Слово Божие говорит: Иисус Христос ВЧЕРА и СЕГОДНЯ и ВО ВЕКИ Тот же!
Драгоценные! иные языки не самоцель - это проявление Бога через нас! Мы получаем ИНЫЕ языки: Бог проповедует через нас; Он, живущий в нас, знает кому и КАК отвечать, дает нам разумение ЧТО в человеке, и мы уже не имеем нужды, чтобы кто свидетельствовал нам о человеке. А иначе КАК бы мы осуществляли душепопечительство? КАК молились? Иисус сказал: слова, которые говорю, НЕ МОИ, Отец, пребывающий во Мне, Он творит дела.
Слова ВЫХОДЯЩИЕ из Иисуса были ТВОРЯЩИМИ, РЕМО Отца! ВИЖУ Отца творящим; что хочет творить Отец, ПОКАЗЫВАЕТ Сыну, ТАК ПЫТАЛСЯ ОБЪЯСНИТЬ НАМ Христос Господь ПРОЯВЛЕНИЯ рождения свыше. Так говорил Иисус ИНЫМИ языками? Если из Него вытекало РЕМО Отца, и Он видел материальные проявления силы такого говорения? За что Его обвиняли? в субботу из Него вытекало РЕМО Отца, которое ДЕЛАЛО. Отец Мой доныне делает, пытался объяснить Иисус. А Его распяли за это, что Он почитал Себя равным Богу, говорил: Я и Отец ОДНО.

Духовный РАЗУМЕЕТ духовное, а душевный пытается прочитать об этом лекцию, каким то образом осмыслить ЧУЖОЙ духовный опыт, НЕ ИМЕЯ СВОЕГО.
И получается по написанному: пьете чистую воду, а другим даете пить потоптанное ногами вашими. Ноги - это образ ЗЕМНОГО хождения, душевного, по плоти. Но плоть и кровь Царствия Божия НЕ НАСЛЕДУЕТ; какая бы это не была религиозная плоть, со всеми её евангелизациями и кормлениями голодных.

Церковь нуждается в откровении, что Отец в нас; и так, КАК Он действовал в Иисусе, Ему нужно дать свободу действовать в КАЖДОМ из нас.
Вера же есть ОСУЩЕСТВЛЕНИЕ ОЖИДАЕМОГО!

ВОЗЛЮБЛЕННЫЕ! НАМ НАДО ИЗМЕНИТЬ НАШИ ОЖИДАНИЯ.

Потому что СОВЕРШИТЕЛЬ нашей веры - Христос Господь.
А насчет рождения свыше, так это очень просто: наша человеческая душа - это наша ВЕТХАЯ природа, и для неё Ветхий Завет.
Наш дух человеческий, соединенный с духом Божиим - НОВАЯ природа, и для неё Новый Завет.
И НИКАК никакою религиозною душею мы в Царствие Божие не влезем - РАЗОРВЕТ: рыба в облаках летать не будет, как бы не старалась, у неё ДРУГАЯ природа.
И ХРИСТИАНСКОЙ жизнью по плоти, т. е. душею, жить не получится (подробнее Публицистика: Нужна ли нам ХРИСТИАНСКАЯ жизнь? и там же: В духе и истине (активность духа и активность души). Попытки человека душевного достигнуть святости - это тщетные попытки рыбы летать и наслаждаться полетом, или святой жизнью. Отсюда все религиозные распри. Не только баптисты воюют против пятидесятников; не менее рьяно пятидесятники воюют против харизматов.
ХРИСТИАНЕ прекращают религиозные войны и СО ВСЕМИ У НАС МИР.
А кто духа Христова не имеет, тот не Его. Что воевать с людьми, которых будущее - геена огненная, со всей их религиозностью; со всеми их конфессиональными доктринами и исследованием Писаний в духе герменевтики и всего остального, что напридумывала религия; тут в пору не враждовать, а вопиять к Богу, чтоб разорвал оковы зла (в том числе и религиозного) и освободил их дух, чтоб в них воскресла жизнь Христа, Его бессмертный дух!
Наша цель СОЕДИНИТЬСЯ с Творцом и Отцом, до такой степени, чтобы СЛЫШАТЬ Его голос, получать от Него личные откровения, как Павел и другие, и не перепутать с ИНЫМИ голосами.
Наша цель сейчас, ныне ГОВОРИТЬ, ОБЩАТЬСЯ, стать своим в Небесном Иерусалиме - ЦЕРКВИ вселенской, КОТОРАЯ ВКЛЮЧАЕТ И ТЕХ, КТО ВО ВРЕМЕНИ ПРИЙДЕТ НА ЗЕМЛЮ ПОСЛЕ НАС. В духе это возможно, а плоть почитает это ересью, как и всё духовное.
ПОБЕЖДАЮЩЕМУ дам сесть со Мною на престоле! Я побеждающий? Я мужчина или женщина?
Я дух, а в духе нет мужеского пола, ни женского, нет иудея и эллина (ни русского и украинца; о чем имеем распрю на Украине: какой язык почитать государственным, украинский или всё же может быть два государственных; что успешно имеется в странах и поменьше нашей).
Да благословит нас Господь миром - ШОЛОМОМ и СОВЕРШЕНСТВОМ; ибо ничто несовершенное туда войти не может.
Святый да освящается еще. Аминь.


 
Константин Белоус 2007-11-23 21:33:46
Добрый день,

Мир и благодать вам от Господа Иисуса Христа и Бога Отца.

К сожалению, я сомневаюсь в том, что вы услышите то, что я скажу, да и мой христианский возраст не позволяет входить в спор с вами, однако должен сказать что я не согласен с вашим взглядом на рождение свыше.

Лично я верю в обетование об Утешителе Крещение Духом и считаю, что крещение Духом отлично от рождения свыше, хотя может и совпадать как в случае с Корнилием.

Дело в том, что, как мне кажется, вы свое видение очень сильно строите на откровении, то есть на видениях и откровении от вашего знакомого, а также на личном опыте. Однако доктрина не может на этом строиться. Нужно основание Слова Божьего. Любая доктрина должна быть доказана на основании Слова Божьего. Вы привели пример об Апостоле Павле, но этот случай не говорит, когда именно он был рожден свыше, там просто нет такой информации. И даже то, что сказал Анания не доказывает то, что Ап. Павел был рожден свыше именно в этот момент, потому что Анания просто мог не знать и ошибаться. Ведь людям же свойственно ошибаться. Анания – это не Иисус. Мы не можем 100% сказать что его слова истина. Например, Стефан, насколько я знаю, когда рассказывал историю пол праотцов (Деяния Апостолов) допускал ошибки. В другой статье вы говорите, что случай с самярянами доказывает, что они не были рождены свыше, однако там не говорится что они не были рождены свыше, там сказано, что на них не сходил Дух, то есть они еще не были крещены Духом Святым. Вполне возможно, что они были рождены свыше и в них жил Бог еще до того, как они через возложение апостолов приняли Духа, то есть были крещены Духом Святым. Разве не так?
Вы говорите, что многие верующие не полностью посвятили себя Христу. Но это не доказывает что они не рождены свыше. Потому что у человека есть душа, и когда душа еще сильна, она в состоянии оказать сильное противодействие рожденному свыше неокрепшему духу и одержать верх.
Например, я лично, могу засвидетельствовать перед Богом, а лжесвидетельство – это грех, что был рожден свыше в результате только одного слова “Прости” и мгновенно как-бы черное полотно слетело со всего моего тела и как-бы миллиарды звезд заполнили все мое тело Божественным светом и теплом и это ощущение долго не проходило и с тех пор я слышу Его голос во мне, я знаю, что Он во мне и я в Нем. Крещен же я был только через год после этого.
Однако это отступление.
Вот места Писания которые ясно показывают, что истинно верующий уже рожден свыше и в этих словах ничего не сказано про крещение Духом, которое есть отдельное обетование, данное Иисусом, когда Он говорил своим ученикам об Утешителе.

1 Иоанна 5:1
Всякий верующий, что Иисус есть Христос, от Бога рожден, и всякий, любящий
Родившего, любит и Рожденного от Него.

1 Иоанна 5:13
Сие написал я вам, верующим во имя Сына Божия, дабы вы знали, что вы,
веруя в Сына Божия, имеете жизнь вечную.

Ев. Иоанна 3:36
Верующий в Сына имеет жизнь вечную.

Ев. Иоанна 5:24
Истинно, истинно говорю вам: слушающий слово Мое и верующий в
Пославшего Меня имеет жизнь вечную, и на суд не приходит, но перешел от
смерти в жизнь.

Ев. Иоанна 6:40
Воля Пославшего Меня есть та, чтобы всякий, видящий Сына и верующий
в Него, имел жизнь вечную; и Я воскрешу его в последний день.

Ев. Иоанна 6:47
Истинно, истинно говорю вам: верующий в Меня имеет жизнь вечную.

Ев. Иоанна 11:25
Иисус сказал ей: Я есмь воскресение и жизнь; верующий в Меня, если и умрет,
оживет.

Ев. Иоанна 11:26
И всякий, живущий и верующий в Меня, не умрет вовек.

Деяния Апостолов 10:43
О Нем все пророки свидетельствуют, что всякий верующий в Него получит
прощение грехов именем Его.

Римлянам 10:9
Ибо если устами твоими будешь исповедывать Иисуса Господом и
сердцем твоим веровать, что Бог воскресил Его из мертвых, то спасешься,

Римлянам 10:13
Ибо всякий, кто призовет имя Господне, спасется.


Кстати, вы говорите, что вода – это покаяние.
Есть распространенное мнение, что вода – это Слово Божье.
т. е. В том отрывке, по этой теории, там сказано,
что “вам надобно родиться от Слова Божьего и Духа”.
Интересно, что и в Ветхом Завете перед Скинией стоял медный умывальник,
воды в котором, как некоторые считают, символизирует Слово Божье, а омовение священников в этих водах – это очищение нас, верующих, Словом Божьим.

Кстати, многие пятидесятники, говорящие на языках соглашаются что рождение свыше и крещение Духом – различные события в жизни верующего.

К сожалению, по вопросу десятины и приношений я тоже с вами не могу согласиться, так как десятины приносил еще Авраам и Иаков, то есть они существовали еще до закона и мы верующие Нового Завета тоже можем приносить Богу наши десятины, только уже не 10% как подзаконные, но как свободные и под благодатью больше десяти процентов, доброхотно, по расположению нашего сердца.

Обильных вам и вашим близким Божьих благословений.

Мой Email: k b e l o u s [AT] s i n t e z - h o m e . o r g

Ваш младший брат во Христе,
Константин.
 
Игорь Цуркан 2009-06-08 18:45:33
приветствую вас дорогой брат !
конечно же вопрос рождения свыше есть вопрос серьёзный, можно сказать самый важный в жизни Христианина , если я вас правильно понял то рождение свыше происходит при крещении Духом но это разные события, на мой взгляд . почему ?
самый первый вопрос который возник у меня это - а как же разбойник на кресте ? на каком основании он попал в рай ?
второе : вы приводите пример зачатия Духом - но это не говорит о рождении свыше Марии, я уверен и сама Мария даже после рождения Спасителя нуждалась во спасении , почему вспомните слова Иисуса
"32 Около Него сидел народ. И сказали Ему: вот, Матерь Твоя и братья Твои и сестры Твои, [вне] дома, спрашивают Тебя.
33 И отвечал им: кто матерь Моя и братья Мои?
34 И обозрев сидящих вокруг Себя, говорит: вот матерь Моя и братья Мои;
35 ибо кто будет исполнять волю Божию, тот Мне брат, и сестра, и матерь." что говорит о том что Его матерь была одной из народа нуждающейся во спасении Иисус дает четкий ответ о ее духовом положении, ничем не выделяя ее отт толпы или родных братьев , которые НЕ верили в Иисуса как Спасителя.
представим другую ситуацию : Петр после Воскресения Христа был Христов или нет ? последний их диалог с Иисусом , любит ли Его Петр.
потом что произошло в день 50-цы слова Иисуса : оставайтесь в Ииерусалиме и примете силу свыше : Иисус не говорит о спасении Он говорит о силе о Духе , приняв Которого они смогут исполнить указание Иисуса идти до краев земли , и ни слова о Спасении.
вы сравниваете праздник Торы (1-я 50-ца) со спасением : но и тут возникают вопросы - разве народ спасся на 50 день после исхода ? нет - народ вышел из рабства , Египта, море закрылось и победа они спасены , далее слова Павла "совершайте спасение" - не все вошли в землю обетованную. но это уже не спасение а хождение в Боге будучи спасенным , что означает что спасение можно и потерять .но опять жеж уже имея ее.
благословений вам брат . с любовью Иисуса !
 
Овумян 2010-03-17 10:12:17
Благодарю Вас за помощь в раскрытии смысла святого великолепно
 
_ , _ , _ ,_(азбука морзе) 2013-03-26 09:58:02
Оценка сему труду : 1 - нечисто, написано человеком внимавшим Духу обольстителю, учению бесовскому ( есть ряд уклонений от истины).
Следую призыву автора, называть вещи своими именами в одной из его проповедей, поэтому пишу намеренно жёстко, чтобы автор задумался, пока есть время.
Если Библия говорит что человек это душа, то кто Вам дал право называть человека духом.
Господь есть дух( Дух, Душа, Тело), а человек есть душа (дух - слово, душа - кровь, тело) и всё это и есть человек по Библии.
Дух человеческий это всё так же часть душа, поэтому и сказано, что есть люди имеющие дух человеческий, но при этом душевные не имеющие духа (Духа Христа, Бога, Который есть дух).
Перед Богом заблуждающийся и вводящий в заблуждение, Ему дадим отчёт.
Христос не заблуждался и не вводил никого в заблуждение никогда , подражайте Ему, любите как Он.
Вы смешали учение Христа со знаниями полученными в Вашей земной профессии и получилась подделка под учение Христа.
Про рождение свыше Вы сильно заблуждаетесь.
Рождённый от Бога не грешит и не может, потому что любит постоянно как Христос.
Что тут выдумывать.
Не грешите - значит рождены от Бога, грешите значит раб греха и сын диавола, враг всякой правды.
Христос был Сыном Бога, Он не грешил никогда .
И не нужно искать лазейки, их нет, Христос дверь, кто Им войдёт, тот и спасётся.
 
читайте в разделе Проповеди обратите внимание

Возрождение или альтернатива - Эрик

Как в место боязливости приобрести любовь - Leonidas Puskovas

Кое - что о Речи. - Михаил Бузин

>>> Все произведения раздела Проповеди >>>

Проповеди :
О снах - Легких Виталий Сереевич
Тоже конспект, скорее лекция чем проповедь

Проза :
8гл Александр. - Мария Кругляк-Кипрова

Публицистика :
Мой ласковый нежный зверь - оккультизм - Тата Петренко

 
Назад | Христианское творчество: все разделы | Раздел Проповеди
www.4orU.org - (c) Христианская газета Для ТЕБЯ 1998-2012 - , тел.: +38 068 478 92 77
  Каталог христианских сайтов Для ТЕБЯ


Рамочка.ру - лучшее средство опубликовать фотки в сети!

Надежный хостинг: CPanel + php5 + MySQL5 от $1.95 Hosting




Маранафа - Библия, каталог сайтов, христианский чат, форум